Jeep Recon EV News, Forum, Owners, Community, Discussions Jeep Recon EV News, Forum, Owners, Community, Discussions
Twitter Contact us RSS
Menu
Jeep Recon EV News, Forum, Owners, Community, Discussions Jeep Recon EV News, Forum, Owners, Community, Discussions
  • News
  • Forums
    New posts Trending Featured threads Search forums Search images
  • What's new
    Unread posts All posts Latest activity
  • šŸ›’ Sponsors
    šŸ“‹ Sponsors Directory šŸ¤ Become a Sponsor (Contact Us)
  • šŸ‘ØšŸ»ā€šŸ’» Sites
  • Members
    Registered members Current visitors
Log in Register
Unread posts Search

Search

By:
Advanced search…
Image Search…
Menu
Log in

Register

Navigation
More options
Change style
Contact us
Close Menu

Trending Forum Topics

  • Administrator
    Jeep CEO: We're still all-in on Recon. It's legit and fun; people love it.
    • Started by Administrator
    • Sunday at 1:47 PM
    • Replies 0
    Jeep Recon EV General Topics
  • Administrator
    2026 Rivian R2 Official Specs & Reviews
    • Started by Administrator
    • Yesterday at 6:07 AM
    • Replies 0
    Recon vs the competition
Uncategorized

Jeep CEO: We’re Still All-in on Recon. It’s Legit and Fun; People Love It.

Sysop, Posted onFeb 8, 2026 at 2:08 PM
Uncategorized

2026 Jeep Recon Moab @ Detroit Auto Show

Sysop, Posted onJan 15, 2026 at 6:09 PM
Uncategorized

Aamir Ahmed, Head of Off-Road and EV’s for Jeep, Introduces the Recon EV

  • Sysop
  • Posted onJan 11, 2026 at 4:11 PM
  • 0 Comments
…

Read more…

Uncategorized

Orange Jeep Recon from LA & Phoenix Auto Shows

  • Sysop
  • Posted onDec 5, 2025 at 4:53 PM
  • 0 Comments
…

Read more…

Uncategorized

Live Photos & Videos: 2026 Jeep Recon at LA Auto Show

  • Sysop
  • Posted onNov 20, 2025 at 2:48 PM
  • 0 Comments
…

Read more…

Uncategorized

Live Photos: 2026 Jeep Recon at LA Auto Show

  • Sysop
  • Posted onNov 19, 2025 at 3:22 PM
  • 0 Comments
…

Read more…

Uncategorized

2026 Jeep Recon World Premiere! Starting Price $65,000. 250 Miles Range, 0-60 3.6 sec

  • Sysop
  • Posted onNov 18, 2025 at 4:22 PM
  • 0 Comments
…

Read more…

Uncategorized

Jeep Recon Official Unveiling This Week

  • Sysop
  • Posted onNov 17, 2025 at 1:01 PM
  • 0 Comments
…

Read more…

Uncategorized

2026 Jeep Recon Launch Reveal is Imminent!

  • Sysop
  • Posted onOct 29, 2025 at 6:57 PM
  • 0 Comments
…

Read more…

Uncategorized

Jeep Recon Sales to Start Next Spring Says Jeep CEO

  • Sysop
  • Posted onOct 18, 2025 at 7:35 AM
  • 0 Comments
…

Read more…

Uncategorized

Black Jeep Recon Moab Spotted

  • Sysop
  • Posted onSep 26, 2025 at 8:31 AM
  • 0 Comments
…

Read more…

Uncategorized

Wolfbox 6th Anniversary Special Trailer | We Are Here for You – Adventures with Our Users

  • Sysop
  • Posted onSep 15, 2025 at 6:38 AM
  • 0 Comments
…

Read more…

Uncategorized

Silver 2026 Jeep Recon w/ Black Roof Spotted (Size Comparison vs. Dodge Hornet)

  • Sysop
  • Posted onAug 18, 2025 at 11:38 AM
  • 0 Comments
…

Read more…

Uncategorized

2026 Jeep Recons Spotted on Transport (August 12, 2025)

  • Sysop
  • Posted onAug 12, 2025 at 10:19 PM
  • 0 Comments
…

Read more…

Uncategorized

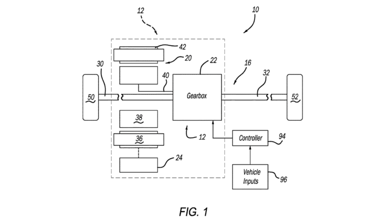
3-Speed EV Gearbox for Off-Roading Patented by Stellantis

  • Sysop
  • Posted onJul 13, 2025 at 4:36 PM
  • 0 Comments
…

Read more…

Uncategorized

Tim Kuniskis Appointed to Lead Stellantis American Brands, Including Jeep

  • Sysop
  • Posted onJul 2, 2025 at 7:02 AM
  • 0 Comments
…

Read more…

Uncategorized

New Stellantis CEO is Antonio Filosa, Former Head of Jeep

  • Sysop
  • Posted onMay 28, 2025 at 6:55 AM
  • 0 Comments
…

Read more…

  • 1
  • 2
  • 3
  • 4
Next
1 of 4

Go to page

Next Last
 
Forum software by XenForo® © 2010-2020 XenForo Ltd. | Xenforo Add-ons © by Ā©XenTR | Add-ons by ThemeHouse
  • Style chooser
  • Sponsors
  • Contact us
  • Terms of Service / DMCA Policy
  • Privacy policy
  • Help
  • Home
  • Twitter Contact us RSS
Top