TBCreative67
Member
- First Name
- Todd
- Joined
- Mar 8, 2024
- Threads
- 1
- Messages
- 9
- Reaction score
- 12
- Location
- Phoenix, AZ
- Vehicles
- Honda CR-V Hybrid, Kia Optima, Nissan Leaf
- Thread starter
- #1
Exciting news for those of us thinking seriously about the Recon and its off-road capabilities!
https://www.topgear.com/car-news/electric/stellantis-planning-a-three-speed-gearbox-ev-roading
Stellantis is planning a three-speed gearbox for EV off-roading
Carmaking MegaCorp's patent application outlines a route to more electron-propelled traction and towing capacity
June 18, 2025
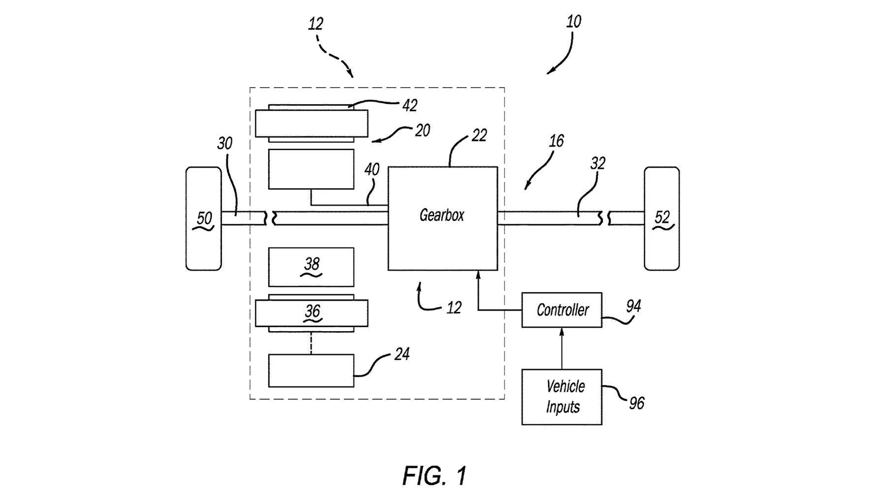
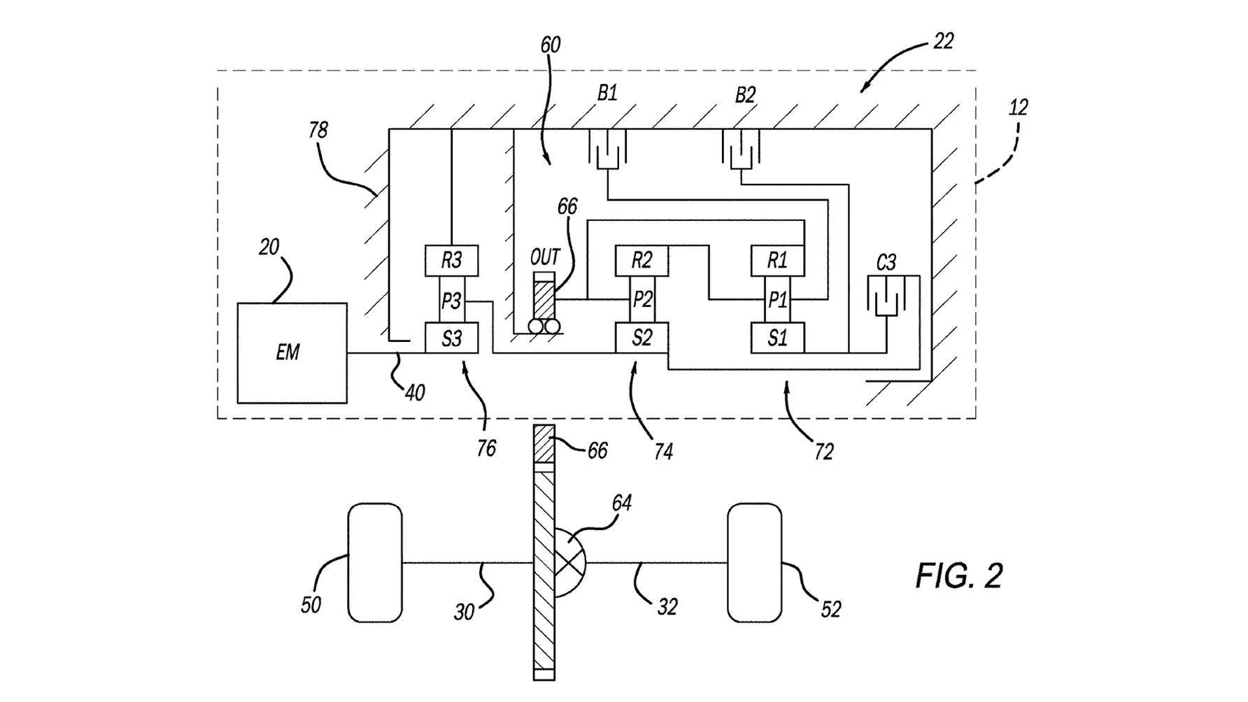
Stellantis is planning a three-speed gearbox to give its electric cars better off-road smarts. Yeehaw!
In the offing since October 2023, the carmaking MegaCorp's patent application has now been approved. The rather interesting tech involves three planetary gear sets – each doing the usual dance with a sun gear, ring gear and planetary carrier – plus three "selectively engagable" clutches that configure the system with a differential, and give 2-Lo, 4-Lo, 2-Hi or 4-Hi drive options, just as you’d get with an ICE off-roader.
The carmaker states how the single-speed transmission in typical electric cars is "unable to provide sustained high torque for trail and desert driving or various other speeds".
The mechanical trickery in this design – able to be mounted to the front, rear or both axles – is all about giving EVs the traction they need beyond the school runs and supermarket dashes. Heavy towing? Check. Vehicle recovery? Check. Low-speed crawling on fun-inducing gradients terrifying to the naked eye? You bet.
https://www.topgear.com/car-news/electric/stellantis-planning-a-three-speed-gearbox-ev-roading
Stellantis is planning a three-speed gearbox for EV off-roading
Carmaking MegaCorp's patent application outlines a route to more electron-propelled traction and towing capacity
June 18, 2025
Stellantis is planning a three-speed gearbox to give its electric cars better off-road smarts. Yeehaw!
In the offing since October 2023, the carmaking MegaCorp's patent application has now been approved. The rather interesting tech involves three planetary gear sets – each doing the usual dance with a sun gear, ring gear and planetary carrier – plus three "selectively engagable" clutches that configure the system with a differential, and give 2-Lo, 4-Lo, 2-Hi or 4-Hi drive options, just as you’d get with an ICE off-roader.
The carmaker states how the single-speed transmission in typical electric cars is "unable to provide sustained high torque for trail and desert driving or various other speeds".
The mechanical trickery in this design – able to be mounted to the front, rear or both axles – is all about giving EVs the traction they need beyond the school runs and supermarket dashes. Heavy towing? Check. Vehicle recovery? Check. Low-speed crawling on fun-inducing gradients terrifying to the naked eye? You bet.
